全球零部件网
  • 客服电话:13701941681
  • 访问量:78968923
您所在的位置:全球零部件网>产品供应>综合配件>环保设施>硝化液回流泵QJB-W7.5/12

杜安环保设备(江苏)有限公司

泵、潜水搅拌机、潜水推流器、潜水回流泵、双曲面搅拌机、污泥切割机及非标设备的生产、销售与安装

VIP会员

VIP会员

收藏 0
扫一扫
举报

硝化液回流泵QJB-W7.5/12

产品价格8888.00元/件

产品品牌杜安

最小起订≥1 件

供货总量500 件

发货期限自买家付款之日起 3 天内发货

浏览次数18

企业旺铺/index.php?homepage=da2025

更新日期2025-09-04 08:34

企业主推产品

诚信档案

杜安环保设备(江苏)有限公司

会员级别:1VIP会员

已  缴 纳:0.00 元保证金

我的勋章: [诚信档案]

在线客服:        

企业二维码: 企业名称加二维码 杜安环保设备(江苏)有限公司

企业名片

杜安环保设备(江苏)有限公司

联 系  人:李经理(先生) 经理 

联系固话:025-57523831

联系地址:南京市六合区雄州工业园区腾飞路10-01号

【友情提示】:来电请说明在全球零部件网看到我们的,谢谢!

商品信息

基本参数

品牌:

杜安

所在地:

江苏 南京市

起订:

≥1 件

供货总量:

500 件

有效期至:

长期有效

电压:

380V

叶轮转速:

480转/分

包装:

木箱包装
详细说明
       硝化液回流泵QJB-W7.5/12
       硝化液回流泵技术要求

 M7cTIE4nizsTB9DYU0N2-RAKi5g
      1设备要求:

1)转轮

  硝化液回流泵叶轮采用球状轮毂和三维扭曲叶片焊接。叶片形状设计,注重高效、刚度、强度,更注意有利于纤维、污物在叶片上易滑落、不易挂钩等,避免搅拌过程由于缠绕、拌挂产生机组偏载、不平衡运行的不良后果。

2)导流圈

导流圈可产生稳定的轴向流、降低轴功率、提高效率、减少震动、运行稳定。

3)轴封

轴封采用两个独立串联的机械密封,形成两道可靠的密封防线。第一道在搅拌机入口介质中,依靠转子轮壳与油室的止口阻止大块杂物进入机封周围,影响其正常工作。适应介质的污杂工况的波纹管式的机封和硬质摩擦动静环,可耐久地正常工作。第二道在油室内,起到电机加倍安全保险的效果。机械密封的设计使用寿命大于25000小时。

4)油室

油室是防止介质从泵轴进入电机内部的一层屏障,阻止搅拌介质渗入电机。若第一道机械密封渗漏时,油室将起缓冲作用,使之不能直接进入电机。同时,油室又起到润滑两个机封摩擦面的作用,使之工作可靠。

5)轴承

直接驱动型电机的输出轴前后设有两个轴承,一只双列角接触轴承,承受螺旋桨的径向载荷和双向轴向推力,一个深沟球轴承只承受径向载荷。轴承的合理设计提高了轴承承载能力。

6)拍门

每台内回流泵配备1个拍门,要求拍门的阻力损失≤0.1mH2O

7)电机

a. 适合长期水下运行的鼠笼感应异步电动机,转子和定子装在密封内充空气的防水壳内。电机带有冷却系统。电机防护等级IP68,绝缘等级为F级,电机适合380V/3Ph/50Hz电源,噪音小于70DB(A)。

b. 电机有足够的功率储备,以保证水泵在其整个性能曲线范围内运行时不过载。不发生气蚀现象,无异常噪音和震动,能稳定运行。

c. 电机承受长期负荷运行,每小时启动至少12次而对电机不产生任何影响。

d. 电机能适连续泵送温度较高为40℃的介质,并且定子绕组的平均温升不超过80℃,缠绕电机的铜线耐温大于150度。

2 主要零部件材质

1)叶片:不锈钢AISI316

2)轮毂:不锈钢AISI316

3)导流圈:不锈钢 AISI316

4)电机外壳:灰铸铁

5)轴:2Cr13

6)机械密封:碳化硅-碳化硅;碳化硅-石墨(油室内)

7)O形密封圈:丁腈橡胶(或其他)

8)安装附件:所有安装附件为不锈钢材质。

设备防腐处理

用于泵和部件组装的所有螺栓、螺母、垫圈和其他紧固件都必须采用不锈钢材料制作。除不锈钢部件外,对所有接触污水的表面都应涂上按一定标准要求的且经业主批准的防腐涂层作保护。

工厂检验

1)杜安环保在制造过程与制造之后进行检验,对铸件进行试件化学分析,提供轴机械密封及耐磨环材料的试验证明,附检测报告。水泵试验:泵性能试验、泵固体通过能力试验、静水压力试验

2)各主要部件的尺寸、型线、加工精度、表面粗糙度及其互换性检验和试验

3)水泵叶轮、电动机转子动平衡试验

4)压力密封试验

5)提升部件超载试验

6)电机绝缘试验

7)机械密封试验

8)整机密封试验

9)水泵流量、扬程、效率、噪声等性能参数测定试验

10)电机主要参数测定

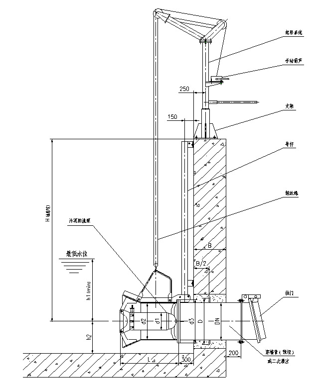
QJB-W安装示意图
       杜安环保硝化液回流泵QJB-W7.5/12随货出厂资料:

a.ISO9001质量管理体系认证;

b.安装尺寸图;

c.产品彩页样本。

d.产品合格证、产品使用说明书、装箱清单

e.产品质量保证书 

 硝化液回流泵配套范围

装配完整的硝化液回流泵主机;

配套导轨、支架、起吊装置、穿墙管、拍门、钢丝绳、连接附件、螺栓等紧固件等;

现场不锈钢304电控箱;一控一、直接启动、室外安装、带立柱、双开门设计、正泰元器件、

预留PLC中控信号端口,可配变频器使用。可配变频器使用。

 2018.10.22.06 

 
反对 0 举报 0 收藏 0 评论 0
0相关评论

店铺内其他产品

更多»

全网相似产品推荐

换一批

相关栏目

还没找到您需要的环保设施产品?立即发布您的求购意向,让环保设施公司主动与您联系!

立即发布求购意向

免责声明

本网页所展示的有关【硝化液回流泵QJB-W7.5/12_环保设施_杜安环保设备(江苏)有限公司】的信息/图片/参数等由全球零部件网的会员【杜安环保设备(江苏)有限公司】提供,由全球零部件网会员【杜安环保设备(江苏)有限公司】自行对信息/图片/参数等的真实性、准确性和合法性负责,本平台(本网站)仅提供展示服务,请谨慎交易,因交易而产生的法律关系及法律纠纷由您自行协商解决,本平台(本网站)对此不承担任何责任。您在本网页可以浏览【硝化液回流泵QJB-W7.5/12_环保设施_杜安环保设备(江苏)有限公司】有关的信息/图片/价格等及提供【硝化液回流泵QJB-W7.5/12_环保设施_杜安环保设备(江苏)有限公司】的商家公司简介、开元kaiyuan(中国)等信息。

开元kaiyuan(中国)

在您的合法权益受到侵害时,欢迎您向邮箱发送邮件,或者进入《网站意见反馈》了解投诉处理流程,我们将竭诚为您服务,感谢您对全球零部件网的关注与支持!

按排行字母分类:

A B C D E F G H I J K L M N O P Q R S T U V W X Y Z
买家保障支持先行赔付
担保交易保障每一笔交易
实地验服务商真实性并拍照取证
委托找服务商5万家服务商等您下单
手机客户端随时随地 快捷方便
网站首页 | 开元kaiyuan(中国)| 关于我们| 版权隐私| 广告位招租| 网站地图| 排名推广| 广告服务| 网站留言| RSS订阅| 违规举报